SX241.5 水平吊桶式转子

Product No:392271

SX241.5 Swinging Bucket Rotor, Aluminum. Major applications: Pelleting subcellular organelles, viruses, bacteria, mitochondria, chloroplasts, or algae. Place: 24 Tube Volume: 1.5 mL microcentrifuge tubes Allegra X-22, Allegra X-22R. Max RPM 12,500, 14,000. Max RCF, 12,950, 16,244. For use in Allegra X-22 Series, and discontinued GS-15 Series and Allegra 21 Series centrifuges.

规格

Platform Allegra 21
Rotor Type Swinging-Bucket (General Purpose)
Angle 90
Maximum RPM 14,000 rpm
Max g-Force 16244 xg
k-Factor 968
Adapters 361247, 364690
Number of Tubes 11 x 45 mm, 25 x 2.2 mL
Nominal Capacity 52.8mL
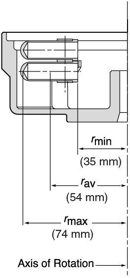
rMAX 74
rMIN 35
rAV 54 mm
生物安全验证 Yes
Materials Aluminum
Package Quantity 1